
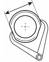
Bush with Callipers

1 – Feel the bush with your hand to see if it has been turned. If it has been turned, a calliper cannot be used to measure the bush.
2 – The bush is worn on both sides from forward and reverse motions.

3 – Ensure the callipers are at 90o to the bush.
4 – Measure the forward wear surface, as per the diagram.
5 – Check the gap between the Calliper teeth with a ruler.

6 – Measure the reverse wear side. Check the measurement with a tape measure.
7 – Use the lowest value to calculate the percentage worn.

Bush with Ultrasonic Tool
1 – Measure both sides of the bush with the ultrasonic tool.
2 – Test several points on both sides of the bush until you find the lowest reading.
3 – Use the lowest value to calculate the percentage worn.